I was tinkering with my PC yesterday and now I'm wondering about these things. Not that it really matters to me, I'm just curious.
Example below:
I was tinkering with my PC yesterday and now I'm wondering about these things. Not that it really matters to me, I'm just curious.
Example below:
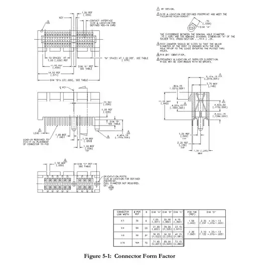
After quite a bit of search i found this paragraph in a document called PCI Express™ Card Electromechanical Specification Revision 1.1 :
As shown in Figure 5-1, a ridge feature is defined on the top of the connector housing on one side. This feature can be used to facilitate card retention. A retention clip may be mounted on 15 an add-in card and latched on the ridge.
As seen here

And shown here (from version 1.0 of the spec)

Also found the following pattent http://www.google.com/patents/US7850475
Some slots have them, others don't.
Seems to depend on where the motherboard manufacturer bought them from.
As far as I know the only reason for them is to slightly weaken the mechanical stiffness of the plastic.
This makes it a bit easier to push a card in the slot without having to exert extreme force and possibly bend the motherboard while doing it.
Is someone knows of another reason I'm very interested to hear it too.
(Nice question !)