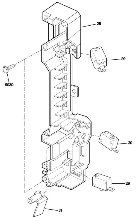
Our microwave has developed a problem. If the door isn't shut just so, the microwave thinks that it is open. The door can be shut too lightly or too hard to exhibit the problem. Recently it has began to pause right in the middle of cooking because it thinks the door has suddenly opened when it is still shut tightly.
From what I've read, the problem is likely with the "door interlock", a kind of sensor (or multiple sensors) that let the microwave know when the door is open or closed.
How do these sensors work, and is it possible to fix them yourself? (I don't mind taking things apart.)
The specific microwave in question is a GE Profile PVM1790 over the range model.

