< Page:Popular Science Monthly Volume 23.djvu
This page has been proofread, but needs to be validated.

THE CHEMISTRY OF COOKERY.

591

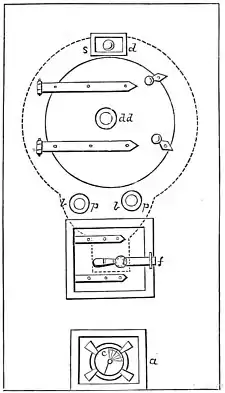
manently at one end, and by a hinged double door of sheet-iron (d d) at the other. This doubling of the door is for the purpose of retaining Fig. 2.

Fig. 3. Fig. 4.the heat by means of an intervening lining of ill-conducting material. Or a single door of sheet-iron, with a panel of wood outside, may be used. The whole to be set horizontally in brickwork, as shown in Fig. 4, the door-front being flush with the front of the brickwork. The flame of the small fire below plays freely all round it by filling the enveloping flue-space indicated by the dotted lines on Fig. 4. Inside the cylinder is a shelf to support the dripping-pan (d), Fig. 1, which is separately shown in Figs. 2 and 3.

This dripping-pan is an important element of the apparatus. Fig. 3 shows it in cross-section, made up of two tin-plate dishes, one above the other, arranged to leave a space (w) between. This space contains water, half to three quarters of an inch in depth. Above is a gridiron, shown in plan, Fig. 2, on which the meat rests; the bars of this are shown in section in Fig. 3. The object of this arrangement is to prevent the fat which drips from the meat from being overheated and filling the roaster with the fumes of "burnt," i. e., partially decomposed, . fat and gravy, to the tainting influence of which Rumford attributed the English prejudice against baked meat. So long as any water remains, the dripping can not be raised more than two or three degrees above 212°.

This article is issued from Wikisource. The text is licensed under Creative Commons - Attribution - Sharealike. Additional terms may apply for the media files.