< Page:Light waves and their uses.djvu
This page has been validated.

140

Light Waves and Their Uses


them, and the light is correspondingly feeble. We may overcome this difficulty in the same way as we did in our transformation of the microscope into the interferometer, by using mirrors to change the direction of the beam of light, instead of allowing it to pass through two apertures in front of the lens.

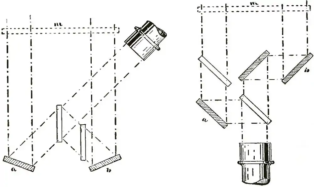
Fig. 101 represents two arrangements by which this may be accomplished. The light falls from above upon the twoFIG. 101 mirrors a and b, which correspond to the two slits. By these mirrors we can bend the light at any angle we choose, and bring the two beams together again at as small an angle as we wish, by means of the plane-parallel plate. Thus we can make the fringes as broad as we choose. In the second diagram we have a rather more complex arrangement of mirrors, but the effect is the same. The paths of the two rays can be easily traced in the diagrams.

If we wish to observe with such an arrangement a body of the size of a small satellite, we should have to construct the instrument so that the distance between the two mirrors could be altered, because these mirrors correspond to the

This article is issued from Wikisource. The text is licensed under Creative Commons - Attribution - Sharealike. Additional terms may apply for the media files.